Kuvaus
Paloluokiteltu EI30 huoltoluukku kipsilevyseiniin, 25 mm kipsilevy, alumiinikehys, irrotettava luukku (yksikerroksisella verhoilulla). Äänieristys jopa max. 42 dB.
Testattu Standardin EN ISO 10140-2:2010 mukaisesti, ilmaääneneristyksen mittaus. Standardin EN 13501-2 mukaisesti, luokitus palonkestävyystestien perusteella. Standardin DIN EN 12207 mukaisesti. Ilman läpäisevyysluokitus – ikkunat ja ovet.
Huolto- tarkastusluukun ulko- että sisäkehys koostuu neljästä yksittäisestä osasta, jotka on kiinnitetty tukevasti yhteen erityisen hitsausmenetelmän ansiosta. Luukussa on 25 mm kipsilevystä (GKF) valmistettu etupaneeli. Kipsilevyn voit halutessasi kitata ja maalata värillä kuin värillä taikkaesimerkiksi tapetoida haluamallasi tapetilla. Huolto- tarkastusluukku on varustettuturvavaijerilla, joka estää huoltoluukkua putoamasta vahingossa.
Tapaturmien välttämiseksi, tämä turvajärjestelmä on kiinnitettävä jokaisen luukun avaamisen jälkeen.
Kiinnitys:
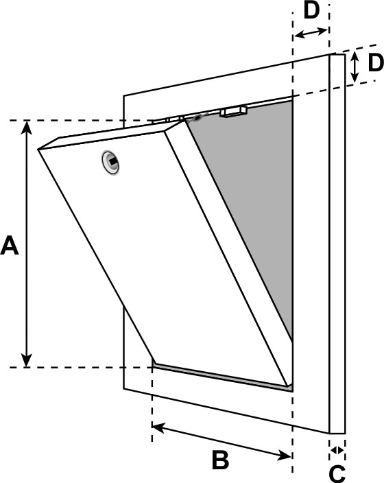
Huolto- Tarkastus luukussa on “push-up” -pikalukitus. Avaamiseen ei tarvitse erillistä avainta tai työkalua. Piilotettu pikalukko (2kpl/luukku) avaa luukun, kun jousikuormitettua kansipuolta painetaan ja luukun saa lukittua uudella painalluksella. Kyseinen malli on irrotettava. Avattuna se roikkuu saranansa varassa, mutta pikalukituksen ansiosta luukku on irrotettavissa näppärästi (katso kuvat). Huom.! Asennusaukko pitää olla noin 110 mm suurempi kuin luukun nimellismitta. (Esim. 300*300 mm, asennusaukko ~ 410*410 mm)
Asennus:
Luukku on erittäin helppo asentaa seiniin, 1,5 mm liitosrako näkyy ulkokehyksen ja ovilehden välillä, joka on varustettu ympäröivällä palonkestävällä tiivisteellä (vaahto). Huoltoluukku soveltuu kaikenlaisiin kohteisiin, esimerkiksi teknisiin tiloihin, varastoihin,
älykoteihin, toimistoihin, jne.
Huoltoluukut voidaan varustaa seuraavilla lukkotyypeillä:
- Neliölukko (FS)
- Pyöreä sylinterilukko (Z)
- Profiilisylinteri (PZ1 / PZ2)
Kaikki vakiokoot ovat saatavissa levypaksuuksille 25 mm
Mikäli tarvitset lisätietoja levypaksuuksista, ota yhteyttä meihin.
Huolto- tarkastusluukku voidaan valmistaa myös mittatilauskoossa, juuri sinun tarvitsemillasi mitoilla.
Ota yhteyttä: Info@raknet.fi





.jpg)


Arviot
Tuotearvioita ei vielä ole.