Kuvaus
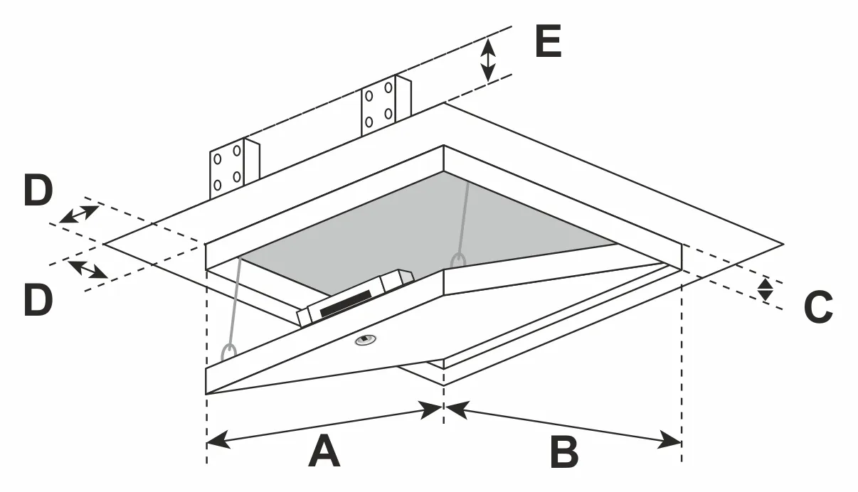
Tarkastusluukku tarjoaa uppoasennuksen, jossa ei ole näkyvää kehystä eikä näkyviä saranoita. Se koostuu alumiiniprofiileista, joissa on kipsilevystä valmistettu sisäosa ja erittäin vakaa alumiinikehys. Kehyksen ja ovilehden välillä on 1,5 mm: n ilmarako, mikä on varustettu erityisillä palonkestävällä tiivisteillä. Piilotetut pikalukkolukot avaavat tarkastusluukun, kun ovilehteä painetaan.
Luukussa on kaksi turvavaijeria, mitkä on kiinnitettävä aina avauksen jälkeen.
Testattu standardin EN 13501-2 mukaan standardin EN 1634-1 mukaan (+ EN1634-3 savutiiviyden suhteen)

Mahdolliset käyttötavat / asennus:
- Kipsikatoissa, joiden paloluokka EI30, joissa palo mahdollista ala- tai yläpuolelta.
- Asennusvideo => System F6 BD EI30 – Revisionsklappe Brandschutz für Gipskartondecken | FFSYSTEMS
Mitat:
Nämä ovat mittatilaustyönä valmistettavia tuotteita, jotka valmistetaan täsmälleen asiakkaan toiveiden mukaisesti
- Leveys: min. 500 mm maks. 800 mm
- Korkeus: min. 800 mm maks. 1800 mm
- (testattu W: 800 x mm x H: 1800 mm asti)













Osmo –
Toimivatuote